COMPUTER SECURITY AND IMPACT ON COMPUTER SCIENCE
EDUCATION
T. Andrew Yang
Computer Science Department
Indiana University of Pennsylvania
Indiana, Pennsylvania 15705
TEL: 724-357-7995
Email address: yang@grove.iup.edu
ABSTRACT
The integration of computer security into existing Computer Science undergraduate education is an urgent and complicated task. With the increasing risk of computer intrusion, computer crimes and information wars, Computer Science educators bear the responsibility of cultivating a new generation of graduates who are aware of computer security related issues and are equipped with proper knowledge and skills to solve the problems. The task of integrating computer security into existing Computer Science programs, however, is complicated due to the fact that most faculty members lack the specialty knowledge in this field. This paper begins with a survey of the computer security field by examining the sequence of actions that the US government has taken since 1987 to counter the computer security issues, followed by an assessment of needs for practitioners in the field. A comprehensive approach of integrating computer security into an existing degree program is then proposed. The paper concludes with observations upon what should be taught and how computer security could be integrated into undergraduate education.
1.
INTRODUCTION
Protection of information has been a major challenge since the
beginning of the computer age. Given
the widespread adoption of computer technology for business operations, the
problem of information protection has become more urgent than ever. Computer files, databases, networking and
the Internet-based applications all have gradually become part of the most critical
assets of an organization. When these
assets are attacked, damaged or threatened, data integrity becomes an issue and
the proper operation of the business may be interrupted.
The problem of protecting data and information on computers has
become even more critical and challenging since the widespread adoption of the
Internet and the Web. The Internet has
made computers across the globe interconnected. Despite the convenience of data sharing and information exchange,
the Internet has also become the major highway for computer viruses to travel
on. Instead of infecting one computer
at a time by spreading the virus via floppy diskettes, the attackers/hackers
use the Internet as the transmission channel to spread their attacking
agents. Whether the spreading mechanism
was a computer virus or a worm, thousands of computers could be affected within
a short period of time.
The famous ‘Denial of Service’ (DOS)[1] attack on some of the
popular e-commerce sites in 1999, for instance, had caught national attentions
to the vulnerability of the Internet.
Ironically, this vulnerability was part of the protocols that govern how
the computers on the Internet communicate.
When computers communicate more frequently with other computers over the
Internet, they become increasingly vulnerable to hostile intruders who may take
advantage of the very protocols, which were intended for the establishment and
authentication of communication, to tie up our resources and to disable our
servers. Since these attacks occur before parties are authenticated to each
other, we cannot rely on enforcement of the appropriate access control policy
to protect us. Instead we must build our defenses, as much as possible, into
the protocols themselves (Meadows 1999).
The rest of the paper starts with examining the sequence of
actions that the US government has taken since 1987, which were related to
computer security. The needs of
computer security curriculum in the Computer Science undergraduate education
are then surveyed, followed by the current practice in computer security
certification. By examining the
certification requirements set by the certification bodies, I hope to identify
common themes that would provide useful insights into the design of computer
security curriculum. Questions
regarding what and how we should teach computer security in a Computer Science
undergraduate program are then asked and answered. A comprehensive approach to integrate computer security into an
existing Computer Science program is then examined, which is followed by
discussions upon proposed workshops, revision of courses, design of new
courses, and addition of a new track in computer security into an existing
degree program.
2. A LESSON OF HISTORY
The importance of computer security is best explained by
examining the sequence of actions that the US government has taken during the
past decade trying to address the issue.
Before assessing the needs of integrating computer security into higher
education, let us first take a brief look at some of the major
computer-security-related documentations that have had great impact upon the US
legislation and governmental structure.
The primary purpose of the Computer Security Act of 1987[2] was to “assign to the
National Bureau of Standards responsibility for developing standards and
guidelines for Federal computer systems, including responsibility for
developing standards and guidelines needed to assure the cost-effective
security and privacy of sensitive information in Federal computer systems,
drawing on the technical advice and assistance (including work products) of the
National Security Agency, where appropriate.”
As stated in the Joint Security Commission’s 1994 Report
(see Joint Security Commission 1994), “the security of information systems and
networks is the major security challenge of this decade and possibly the next
century ... there is insufficient awareness of the grave risks we face in this
arena.”
In the Executive Order 13010 (see Federal Register
1996), the President of the US ordered the establishment of the President’s
Commission on Critical Infrastructure Protection (PCCIP), which consists of
members from 10 executive branch departments and agencies. An Infrastructure Protection Task Force
(IPTF) was also established with the Department of Justice, chaired by the
Federal Bureau of Investigation, to undertake the interim coordinating
mission. The Commission submitted its
report, Critical Foundations, to the White House in October, 1997[3]. Among the recommendations made by the Commission include: a broad program of awareness and education;
infrastructure protection through industry cooperation and information sharing;
reconsideration of laws related to infrastructure protection; a revised program
of research and development; a national organization structure.
The Critical Infrastructure Assurance Office (CIAO), the
National Information Protection Center (NIPC), and the Information Sharing and
Analysis Center (ISAC) were established in May 1998 as part of the Presidential
Decision Directive 63 (PDD 63). PDD
63 officially expanded the US national policy to include the cyberworld
(Schwartau 1999).
In the Secretary of Defense’s 1998 Annual Report to the
President and the Congress[4], a new center named
Information Operations Technology Center (IOTC) was mentioned as the agency
that was established to coordinate interagency information operations. Information operations (IO) were defined in
the same report as “actions taken across the entire conflict spectrum to affect
adversary information and information systems while protecting one’s own
information and information systems. Information warfare is conducted during
crisis or conflict to achieve specific objectives over an adversary.” Also defined in the same report,
“Information assurance protects and defends information and information systems
by ensuring their availability, integrity, authenticity, and confidentiality.”
On 11 May 1999, NSA (National Security Agency) issued a press
release designating seven universities[5]
as the first Centers of Excellence in Information Assurance under the Centers
of Excellence Program. As stated in the
press release[6], “NSA’s establishment of
this program was spurred by the growing demand for professionals with
Information Assurance expertise in various disciplines. The Centers for
Academic Excellence may become focal points for recruiting and may create a
climate to encourage independent research in Information Assurance.”
3. ASSESSMENT OF NEEDS
While government agencies, major corporations and research institutions
are examining the complex issues of protecting the Internet infrastructure
against intrusions, CyberTerrorism, and even information warfare (Campen 1996;
Minihan 1998), what and how should we as Computer Science educators prepare our
students to operate, professionally, in such an insecure environment? I believe that it would take more than
engineering and/or technology to cope with the crisis of computer
security. In order to cope with the
security issues, the revision of Computer Science curriculum cannot focus only
on technical aspects of the discipline, but must also on broader, more
comprehensive, and possibly “non-technical” aspects.
Here are some questions that educators in computing-related
disciplines should address before starting to revise their curriculum to
include computer security:
- How would we prepare our
students so they would be security literate?”
- Given the fast advancement
of computer technology, how would a faculty member become security aware and
capable when teaching the new tools and techniques?
- In addition to technical
solutions of computer security (such as firewalls, encryption, access controls,
audit trails, training, benchmarking, interoperability, et al), should and how
would the curriculum cover non-technical aspects such as social, cultural,
political, legal, economic, and organizational issues? (Pattak 1999)
- Should computer security
be integrated throughout the curriculum, or should special courses and/or
tracks be created to address the needs?
- Should alternative
curriculum delivery mechanisms be used?
Examples include Web-based delivery, continuing education courses,
corporate training, distance education, et al.
Before trying to answer the above questions, let us first look
at a report on the 1998 NCISSE Conference, which was published in the November
issue of the Electronic Journal of the U.S. Information Agency as a response of
higher education to information security and warfare (Reynolds 1998). The following items mentioned in the report
were particularly relevant to curricula in the higher education
institutions: i) Educational
institutions are encouraged to increase programs with concentrations in
information security and include security courses in core curricula of all
college graduates. ii) The inclusions
of curricula that address the ethical and cultural issues that arise in modern
information systems are especially important. iii) Since many ethical and cultural values are formed early in
life, institutions of higher education are encouraged to develop information
security curricula for and in collaboration with secondary education. iv) Educational institutions were encouraged
to solicit guidance from accreditation organizations for appropriate placement
of information security within their curricula. v) Higher education was encouraged to provide continuing
educational programs for information security professionals who are already
working in the field. vi) Information
security educators are urged to develop and share practical laboratory
exercises in information security, design computer games that express
appropriate values for a responsible and information literate work force,
develop a place to share instructional materials, and write more textbooks,
especially on practical issues. vii)
Specialists in legal education were called upon to help U.S. lawyers understand
information security.
Based upon the report, I have made the following observations.
Observation #1: Involvement of higher
education in computer security is urgently needed in training both college
students and on-the-job professionals, in order to meet the challenges of
protecting the information infrastructure.
Observation #2: It is important to address
the ethical and cultural issues in the computer security curriculum.
4. PROFESSIONAL CERTIFICATION IN COMPUTER SECURITY
Certification programs in computer security have been provided
by government agencies, professional organizations, and private
corporations. By examining the
certification requirements set by these certification bodies, I hope to
identify common themes, which will provide useful insights into the design of
computer security curriculum. The
identified certification programs include the Certified Information Systems
Auditor (CISA) program, the Certified Information Systems Security Professional
(CISSP) program, the SNAP program, and the SAGE program. Details of these programs are discussed in
the rest of this section.
The Certified Information Systems Auditor (CISA®)
program was established in 1978 by the Information Systems Audit and Control
Association (ISACA). The CISA
certification focuses on five domain areas[7]: Information Systems Audit Standards and Practices and Information
Systems Security and Control Practices (8%); Information Systems Organization
and Management (15%); Information Systems Process (22%); Information Systems
Integrity, Confidentiality, and Availability (29%); and Information Systems
Development, Acquisition, and Maintenance (26%).
The Certified Information Systems Security Professional (CISSP)
program was created by the International Information Systems Security
Certification Consortium (ISC)2, which is supported by Computer
Security Institute (CSI), Information Systems Security Association (ISSA),
Canadian Information Processing Society (CIPS), and other industry presences (Power 1997). CISSP certification requires the
participants to pass the CISSP exam, which consists of questions covering 10
test domains[8]: Access Control Systems & Methodology; Computer Operations
Security; Cryptography; Application & Systems Development; Business
Continuity & Disaster Recovery Planning; Telecommunications & Network
Security; Security Architecture & Models; Physical Security; Security
Management Practices; Law, Investigations & Ethics.
The SNAP[9] program administered by
GIAC[10] of the SANS[11] Institute is designed to
serve the people who are or will be responsible for managing and protecting
important information systems and networks.
The GIAC program consists of a LevelOne Module covering the basics of
information security followed by advanced and targeted LevelTwo Subject Area
Modules. The LevelOne module consists
of 18 elements[12]: Information Assurance Foundations; IP Concepts; IP Behavior;
Internet Threat; Computer Security Policies: The Good, The Bad and The Ugly;
Antiviral Tools on Desktops; Host Based Perimeter Protection; Windows NT
Password Cracking; Unix Password Management; Introduction To PGP; Introduction
To Cryptography 1; Introduction To Cryptography 2; Windows NT System Administration;
Unix System Administration; Backups For Windows NT; Backups For Unix; Basic
Windows NT Security/Auditing; Basic Linux Security/Auditing.
In 1999, after years of debate, SAGE[13] eventually took the first
step in tackling certification for system administrators. As proposed in the latest update[14], “An overall certification program will need to have a core track with
probably three levels of difficulties or progressions. …
There may also be specialty modules: security, networks, databases, et
al.”
The Department of Defense has issued a mandate that all
system administrators will require “level 1” certification. The certification is required by 12-31-1999
for those working on classified systems and 12-31-2000 for those working on non-classified
systems[15].
5. SO, WHAT SHOULD WE TEACH OUR STUDENTS?
As pointed out by Powanda (1999), the basics of computer
security education include: i)
Understand and comply with security policy and laws; ii) Recognize potential
security problems in their environment; iii) Know how to be proactive in
preventing security problems; iv) React appropriately to an occurrence of a
security problem; v) Know where to find additional help or information; vi)
Make informed decisions on security matters; vii) Speak the “language”.
The goal of a computer security program in the Computer Science
education is to develop the student into a well-rounded professional who is
capable of understanding, recognizing, and preventing security problems. When a problem occurs, he/she should be capable
of getting necessary resources to find a solution. In addition, the computer security professional must be well
versed when it comes to explaining security issues, problems, or the impact to
others, such as the supervisor or co-workers.
In addition, the students graduating from the Computer Science
programs must possess the following abilities:
assessments of protection tools and methodologies, information on trends
in disruption of information and information infrastructure, education and
training on the employment of protection tools and methodologies, and the
ability to educate co-workers regarding computer security.
Observation #3: A majority of computer
security curriculum involves extension of traditional Computer Science
curriculum, such as networking, programming, databases, et al.
Observation #4: Computer security education
is more than just providing training on technical topics. It should contain components that address
business and managerial aspects of computer security, such as law, investigations,
ethics, physical security, and business continuity & disaster recovery.
Observation #5: Similar to other computer
professions, the abilities of the students to recognize and analyze a problem
and get a “handle” of it is critical for being successful in the profession of
computer security.
6. A COMPREHENSIVE APPROACH
In this section, I try to answer the question of how computer
security would be integrated into undergraduate education, by first examining
the knowledge acquisition and transfer process in higher education
institutions. The faculty plays a
central role in this acquisition and transfer process. A faculty member enhances his/her
professional knowledge by participating in professional conferences and
seminars, collaborating with major research institutions and centers, engaging
in curricular revision activities, conducting theoretical/applied research,
developing and offering topical workshops, and interacting with students via
classroom teaching and research activities.
The knowledge and experience acquired through theses activities are then
transferred to students via regular classes or workshops, as well as via
publications. This acquire/transfer
process is particularly characteristic in a field such as computer security,
which is new to most faculty members.
To facilitate effective faculty training for newer knowledge
and skills in computer security, the institution where the faculty member works
must play an active supporting role, especially at the initial stage. Institutional support may include travel
and/or training fund, reduced teaching load, summer research grant for
professional development and/or research, support for publications and grant
writing, and recognition of faculty accomplishments.
Collaboration with major research universities and research
centers is an important factor in faculty professional development. Centers specializing in computer security
research and training have been set up in both governmental and academic
institutions. Among them are Center for
High Assurance Computer Systems of the Naval Research Laboratory, Computer
Security Technology Center of Lawrence Livermore National Laboratory (U.S.
Department of Energy), Cyberspace Policy Institute at George Washington
University, the CERT Coordination Center of the Software Engineering Institute
(at Carnegie Mellon University), et al.
With the convenience of accessing information over the Web, a
wide variety of resources are also available from Web sites. A list of Web sites hosting information
related to computer security has been compiled and is available from my Web
site[16].
Observation #6: Similar to integrating any
new major technology into the Computer Science education, the integration of
computer security into the undergraduate programs requires strong support from
the Administration.
Observation #7: The process of integrating
computer security into a program is a continuous process and involves the
faculty’s involvement in multiple activities, including research, professional
development, curricular design, and teaching.
7. WORKSHOPS, COURSE REVISION,
NEW COURSES, & A NEW TRACK
In this section, results of integrating computer security into
our existing program are discussed. As
stated in the previous section, the revision is a continuous process. What is presented here serves as tentative
outcome from applying the comprehensive approach to answer the challenges.
· Proposed Workshops
As part of professional development as well as service to the
local businesses and community, I propose the faculty to offer workshops
related to computer security, by especially integrating security issues into
existing technologies and specific areas in Computer Science. Sample workshops include Encryption and
Cryptography, Dealing with CyberTerrorism, XML & Privacy, Building Security
into Systems, Hostile Applets and the Java Security Model, Network Monitoring,
Database Security, MFC & Security, Securing Your OS, and Securing Large
Transaction Processing Systems, et al.
The content of a workshop can later be incorporated into a
regular course. Through the preparation
and offering of workshops, faculty in Computer Science engage in learning
computer security in their respective areas of specialty.
· Revision of Existing Courses[17]
Some existing courses will need to be revised to incorporate a
computer security component. In a
database course, for example, in addition to discussion of data modeling, SQL,
et al, a major topic of the course should cover security issues in the usage
and development of databases, and discuss the security features of existing
database technologies.
The primary objective of this type of revision is to emphasize
to the students the fact that computer security is a prevailing issue in
Computer Science education, and a computer professional should take the issue
into serious consideration when using or developing computer systems.
In addition to CO441 Database Management Systems, the following
courses have also been identified as candidates for revision:
- CO105 Fundamentals of
Computer Science
Suggested enhancement:
Introduction to the importance of computer security, ethics of computer usage
and legal implications of misuse.
Introduction to computer viruses and awareness.
- CO 201 Internet and
Multimedia
Suggested enhancement: Discussion
of security of scripting languages (Anupam, 1998) and the security issues of
Java applets, cookies, ActiveX, et al (Levine 1997)
- CO 205 Programming
Languages for Secondary Education
Suggested enhancement:
Discussion of security concerns and safe Internet access in a school setting
- CO304 Internet Programming
using Java
Suggested enhancement:
Discussion of the Java security package[18]
(Levine 1997)
- CO319 Software Engineering
Concepts
Suggested enhancement:
Introduction of topics related to the development of secure software systems,
such as the systems security engineering capability maturity model (Hefner
1997) and cryptographic verification (Devanbu 1997).
· New Courses
For areas that are highly related to computer security, I
propose new courses to cover computer security in these significant areas,
which include Data Communications, Operating Systems, Networking, and Web-based
System Development. In addition,
courses that are not traditionally offered in Computer Science programs need to
be created to cover the fundamental, and sometimes non-technical, aspects of
computer security. These courses
include Introduction to Computer Security, Ethics, Laws and Organizational
Factors, Cryptography and Encryption, and CyberTerrorism and Counter Measures.
A new course titled Information Security Lab is proposed
to provide hands-on experience for students to gain first-hand experience in
hacking and defending computer systems.
|
Courses |
Prerequisites |
|
CO117
Introduction to Computer Security: Issues and Methodologies |
CO110 Problem
Solving & Structured Programming |
|
CO207 Ethics,
Laws and Organizational Factors |
CO117 |
|
CO217
Information Security Lab |
CO117 |
|
CO307
CyberTerrorism and Counter Measures |
CO217 |
|
CO317
Cryptography and Encryption |
CO310 Data
Structures |
|
CO417
Security of Operating Systems |
CO432 Intro.
to Operating Systems CO317 |
|
CO427 Secure
Networking |
CO345 Data
Communications CO317 |
|
CO437
Security of Web-based System Development |
CO415
Internet Architecture and Programming CO317 |
Table
1: Proposed New Courses in Computer Security
The courses are listed in Table 1, along with their respective
prerequisites. For a listing of the
exiting courses in our programs and their catalog descriptions, please see our
Web site.[19] We in the Computer Science Dept. are currently in the process of
designing these new courses. The
following paragraphs provide sketches of the major topics in each of the
courses.
- CO117 Introduction to
Computer Security: Issues and Methodologies
Issues: Why Computer
Security Training Needs to be Comprehensive?
One person’s action can affect an entire organization; Recovering from
computer virus infection is expensive; Break-in on one computer compromises a
network; Poorly configured firewall can enable compromise of organizational
information resources and reputation; Illegal user actions can incur liability
to an organization; Laws and directives mandate relevant security training;
Computer Security Act of 1987 (Powanda 1999).
Basic Units in Computer
Security: Security Basics, Physical Security, Personnel Security, Technical
Security, Operations Security, Network and Information Sharing, Special
Applications Security, Review of Controls and Risk Management, Incident
Handling, Continuity of Business Operations, Acquisition Management; Technological
versus Non-Technical Aspects of Computer Security: an Overall Methodology
(Pattak 1999)
- CO207 Ethics, Laws and
Organizational Factors
Continued from CO107, this
course deals with more advanced and specific topics of ethics, laws and
organizational structures related to computer security.
- CO217 Information Security
Lab
A closed lab for faculty and
students to experiment with computer security theories and applications. Students may be divided into groups trying
to intrude the other groups’ system while protecting its own computer. The emphasis of this course is first hand
experience on hacking/defending and information assurance.
- CO307 CyberTerrorism and
Counter Measures
An intermediate level
computer security course focusing on the discussions and studying of
CyberTerrorism, the mechanisms adopted to launch such attacks, counter attacks
that have been developed by the government agencies, legislation and resources
that have been allocated for the development of these counter measures, and the
link between CyberTerrorism and infowars.
- CO317 Cryptography and
Encryption
Studying the technology of
encoding and/or encrypting information so it can only be read by authorized
individuals, private and public cryptography, certificates, digital signature,
et al.
- CO417 Security of
Operating Systems
The study of operating
systems from perspectives of computer security, how to design a secure
operating system, how to use an operating system in a secure manner, discussion
of the existing mechanisms used by various operating systems to prevent
intrusions.
- CO427 Secure Networking
Focused study of network
security, discussion of security concerns on a network, the types of attacks
that may be launched against a network, vulnerability of network protocols, denial-of-service
attacks, studying of existing secure network servers, discussion of network
protection measures such as firewalls, intrusion detection software, secure
servers, network monitoring, authentication, encryption and access control
methods
- CO437 Security of
Web-based System Development
Discussion of security
problems of scripting languages (Anupam & Mayer, 1998); New development of
cryptographic protocols in Java development environment (Nikander & Karila,
1998); Design and implementation of a secure, intrusion-tolerant system (Wu,
1999); Major Issues of Web Security (McKee, 1999)
· Adding a New Track in the
Existing Program
With the new computer security courses in place, I propose to
add a new track in our undergraduate programs.
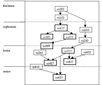
Figure 1 shows the pre-requisites chart for the new track. The new track shares, with the other tracks
in our programs, the lower level core courses such as co110 (Problem Solving
and Structured Programming), co210 (Object-Oriented Programming and GUI), and
co310 (Data Structures). It also shares
some upper level core courses such as co432 (Introduction to Operating Systems)
and co415 (Internet Architecture and Programming) with one of the tracks.
It is not feasible to require students majoring in this new
track to take all the security related courses to fulfill the major
requirements. Alternative scheduling is
being investigated such that a student may choose one of the alternatives and
complete the major requirements. Two of
the alternatives are presented below.
Alternative 1:
freshmen year: co105, co110
sophomore year: co117, co210, co310, and one of co207 and co217
junior year: co317, co432
senior year: co415, co437
Alternative 2:
freshmen year: co105, co110
sophomore year: co117, co210, co310, co217
junior year: co307, co317, co345
senior year: co427

Figure
1: Pre-requisite Chart for the Computer Security Track
Depending on the area(s) in which a student is interested,
he/she may pick either alternative 1, focusing on secure operating system and
Web-based development, or alternative 2, focusing on CyberTerrorism and secure
networking. Other combinations are
certainly possible.
8. SUMMARY
The integration of computer security into the existing Computer
Science undergraduate education is an urgent and complicated task. With the increasing risk of computer
intrusions, computer crimes and information wars, Computer Science educators
bear the responsibility of cultivating a new generation of graduates who are
aware of computer security related issues and are equipped with proper
knowledge and skills to solve the problems.
The task of integrating computer security into the Computer Science
programs, however, is complicated by the fact that most faculty members lack
the specialty of the field. In addition,
the fast advancement of computer technology, especially in the Internet and Web
related fields, makes the updating of professional knowledge and skills a
constant requirement.
In this paper, a comprehensive approach of integrating computer
security into an existing degree program was proposed. Related issues and procedures were
examined. It was realized that the
integration of a new field such as computer security would have major impact on
the overall curriculum and degree programs.
A comprehensive knowledge acquisition and transferring process was
proposed to enable successful integration.
Strong and innovative institutional support will play a major role in
determining the success of the integration.
Throughout the paper, observations that I made with respect to
what should be taught and how computer security could be integrated into the
undergraduate education were discussed.
New courses and a new track on computer security were proposed as part
of the integration.
9. REFERENCE
Anupam, V. & A. Mayer
1998: Security of Web Browser Scripting Languages: Vulnerabilities, Attacks,
and Remedies, Proceedings of the 7th USENIX Security Symposium, USENIX.
Campen, A.D. et al (Ed.)
1996, CyberWar: Security, Strategy and Conflict in the Information Age, AFCEA
International Press.
Federal Register 1996,
Executive Order 13010 – Critical Infrastructure Protection, Federal Register
Vol. 61, No. 138, July 17, 1996.
Hefner, Rick 1997: Lessons
learned with the systems security engineering capability maturity model,
Proceedings of the 1997 international conference on Software engineering.
Joint Security Commission
1994, Redefining Security: A Report to the Secretary of Defense and the
Director of Center Intelligence[20].
Levine, D.E. 1997, What's
Brewing with Java And ActiveX?, Information Security Magazine, December 1997.
McKee, B. 1999: A
comprehensive view of Web security, Computer Security Alert, Computer Security
Institute, March 1999.
Meadows, C. 1999: A Formal
Framework and Evaluation Method for Network Denial of Service, Proceedings of
the 1999 IEEE Computer Security Foundations Workshop, IEEE.
Minihan, K.A. 1998:
Defending The Nation Against Cyber Attack: Information Assurance in the Global
Environment, Electronic Journal of the U.S. Information Agency (USIA), Volume
3, Number 4, November 1998.
Nikander, P. & A. Karila
1998, A Java Beans Component Architecture for Cryptographic Protocols,
Proceedings of the I7th USENIX Security Symposium, USENIX.
Pattak, P.B. 1999:
Non-technical Factors Influencing IT Security, 12th Annual FISSEA (Federal
Information Systems Security Educators' Association) Conference[21], NIST (National Institute
of Standards and Technology).
Powanda, J. 1999: Assembling
a Curriculum for Various Security Disciplines, 12th Annual FISSEA Conference, NIST.
Power, R. 1997: Should You
Take the CISSP Exam?, Computer Security Alert, Computer Security Institute,
March 1997.
Reynolds, C.W. 1998: The
Response of Higher Education to Information Warfare, Electronic Journal of the
U.S. Information Agency (USIA), Volume 3, Number 4, November 1998.
Schwartau, W. 1999,
Infrastructure Is Us, Information Security Magazine, June 1999[22].
Wu, T. et al, 1999: Building
Intrusion Tolerant Applications, Proceedings of the USENIX Security Symposium,
USENIX.
[1] DOS (Denial of Services): For details of the attack and counter tools, see http://www.cert.org/current/current_activity.html.
[2] Public Law 100-235 (H.R. 145) January 8, 1988.
[5] James Madison University, George Mason University, Idaho State University, Iowa State University, Purdue University, University of California at Davis, and University of Idaho.
[9] SNAP: System and Network Assurance Program
[10] GIAC: Global Incident Analysis Center
[11] SANS: System Administration, Networking, and Security
[13] SAGE: The System Administrators Guild, a special technical group of the USENIX Association.
[18] See Java Security Architecture at http://java.sun.com/products/jdk/