|
|
|
|
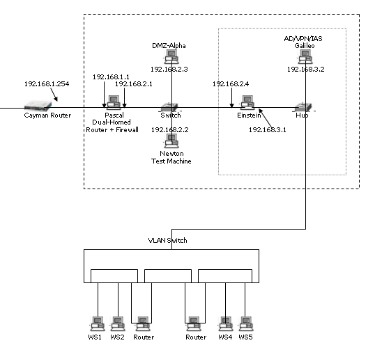
LAB DESIGN |
|
|
|
|
ACTIVE DIRECTORY INSTALLATION |
|
|
Configuration
: -
Active
Directory was configured on a Windows 2003 Server (Machine Name - Galileo). The
machine was also configured as the DNS. The machine was made the Domain
Controller with the following details:
The Domain Name-
dcsl
FQDN dcsl.uhcl.edu
The Domain controller was
made the first domain controller of the domain and a new forest was established.
Testing :
-
A Windows 2000 Server
machine(Machine Name - Alpha) was configured as the client/workstation in the
dcsl domain.
An Active Directory user
testuser was created on the DC(Domain Controller).
Using the testuser
account from Alpha, the Active Directory configuration was verified.

Top
|
|
CONFIGURATION OF LINUX ROUTER |
|
|
Configuration : -
Linux
Red Hat 9.0 was installed on a machine (Machine Name Einstein). The machine is
dual homed and ip_forwarding enabled between the two interfaces. The interfaces
were configured to two different Class C networks (192.168.100.0 and
192.168.200.0). The IP of the interfaceses :
Eth0 ? 192.168.100.1
Eth1 ? 192.168.200.1
The eth0 was connected to
the hub. The DC (Galileo) was also connected to the hub. The DC was assigned the
IP ? 192.168.100.2
A cross cable was
connected between the eth1 of Einstein and Alpha. Alpha was assigned the IP ?
192.168.200.1
Testing :-
The connectivity between
the Alpha and the eth1 of the Einstein was tested by pinging (ping
192.168.200.1) from Alpha.
The connectivity between
the Galileo and the eth0 of the Einstein was tested by pinging (ping
192.168.100.1) from Galileo.
The ip_forwarding on the
Einstein was tested by pinging (ping 192.168.100.2) from Alpha which was on
network 192.168.200.0 with IP ? 192.168.200.2.

Top
|
|
CONFIGURATION OF VPN SERVER IN GALILEO |
|
|
Configuration
:-
The Microsoft Windows Server 2003 operating system has integrated VPN
technology that helps provide secure, low-cost remote access and branch office
connectivity over the Internet. The VPN Server was integrated with the Active
Directory on Galileo
Testing :-
-
The default VPN Client on Windows 2000 Server was used for the VPN testing.
-
The ?testuser? on the Active Directory of the was given ?Dial-in? access.
-
Using the account ?testuser? from the VPN Client on Alpha, the VPN tunnel to the
VPN Server Galileo was established.
-
To
verify the connectivity, a home directory was created for the user ?testuser? on
Galileo. On logon the home directory was configured to be mapped to ?M? drive on
the client machine.
-
On
logging to the domain from Alpha using the VPN Client, the drive was mapped.
This confirmed the establishment of a VPN tunnel.

Top
|
|
CONFIGURATION OF IAS(RADIUS) SERVER IN GALILEO |
|
|
Configuration :-
The
Microsoft IAS server is configured to listen at default Authentication
(1812)and Logging ports(1813). The IAS server is registered to communicate
with the Active Directory for Authentication information. The VPN Server on the
Galileo was made the AAA Client and was configured to obtain the Authorization
and Authentication information from the AAA Server.
Testing :-
-
The default VPN Client on
Windows 2000 Server was used for the VPN testing.
-
The ?testuser? on the
Active Directory of the was given ?Dial-in? access.
-
Using the account
?testuser? from the VPN Client on Alpha, the VPN tunnel to the VPN Server
Galileo was established. The AAA mmc showed the VPN Client.
-
To verify the connectivity,
a home directory was created for the user ?testuser? on Galileo. On logon the
home directory was configured to be mapped to ?M? drive on the client
machine.
-
On logging to the domain
from Alpha using the VPN Client, the drive was mapped. This confirmed the
establishment of a VPN tunnel.

Top
|
|
CONFIGURATION OF VPN CLIENT IN LINALPHA |
|
|
Configuration
:-
Installed
Linux 9.0 on Alpha and made it dual boot
Installed OpenSource?s PPTP client for VPN. Configured the PPTP client
to talk to the Microsoft VPN server running on Galileo. Established a VPN tunnel
from the Linux on Alpha to the Microsoft VPN server on Galileo. Tested the tunnel by
pinging Galileo through the VPN tunnel.
Installation Steps for
PPTP Client
1. install MPPE support in your kernel, (if required)
2. install MPPE support in PPP, (if required)
3. install the PPTP client,
4. configure the client,
5. start the tunnel, and
6. configure routing.
Testing:
When
the PPTP client is configured to talk to the VPN server creating a VPN tunnel,
it creates a virtual Network PPP Interface over the existing Ethernet NIC.
The testing is done by
directing the ?PING? request through the ?PPPO? interface created by the PPTP
tool as:
# ping ?i ppp0
192.168.100.2(Galileo).

Top
|
|
CONFIGURATION OF A WIRELESS LOCAL AREA NETWORK |
|
|
IIS Server
was installed on one of the wireless desktop (Wireless Client 1).
Testing
-
Configuration was tested by pinging the different machines in both the
network A and network B from the wireless desktops.
-
Access
point was accessed using its ip-address(192.168.100.217) from the browser
on the following machines
-
HTML
pages on the IIS Server installed on Wireless Client 1 was tested from the
following machines:
-
Toshiba
PDA
-
Wireless Client 2
-
Machine
Galileo (Networks A)
-
Machine
Alpha (Networks B)

Top
|
|
SUMMARY OF THE CURRENT NETWORK ARCHITECTURE |
|
|

-
We were
successful in pinging Einstein from Pascal and vive-versa.
-
Unable to ping
Cayman Router from any machine other than Pascal ? The problem could be
the configuration of Cayman router.
-
Changed password
of Cayman Router admin.
Top
|
|
PROPOSED NETWORK WITH TEST BED |
|

Top
|
|
SUGGESTED ASSIGNMENTS |
|
|
Server Assignments
Study
Assignments
Configuration of AD Server, VPN Server, IAS Server, Proxy Server
Practical
Assignments
Installing VPN Server
and testing with VPN Client. Understanding the encryption used in VPN ie.
PAP,CHAP etc.
Host Assignments
Study
Assignments
Hardening of Windows/Linux
Practical
Assignments
1) Team Assignments like
one group does the hardening and other tries to find loopholes but port scanning
etc.
2) Team Assignments like
introducing spyware or Trojan horse and the other team detecting malware.
Network Assignments
Study
Assignments
Study Network setup.
Practical
Assignments
1) Configuration of
router, firewall etc.
2) Intrusion Detection
and prevention.
3) Use of network
sniffers to extract clear text password.
Top
|